Lo habitual a la hora de escuchar música a través del móvil es conectar unos auriculares a su salida. Sin embargo, muchos nos escriben queriendo aplicar este sonido a un amplificador externo de alta potencia. ¿Es posible hacer eso? ¿Cómo? Eso es lo que veremos en este artículo.
En nuestro artículo Explorando el audio del teléfono celular (CEL003S) analizamos las características del amplificador interno del teléfono celular que transmite el sonido a los auriculares.
También vimos cómo identificar las conexiones del enchufe de salida y así poder “llevar” la señal de audio del celular a una aplicación externa.
Como vimos en su momento, el celular usa un enchufe P3 con la identificación que se muestra en la figura 1.
Estos enchufes de 3,5 mm se utilizan en la mayoría de los teléfonos móviles.
Identificación de terminales:
1 – Salida de canal izquierdo de auriculares
2 – Salida de canal derecho de auriculares
3 - Común (tierra)
4 – Entrada de micrófono
Los cables adaptadores para jacks mono y estéreo (clavijas mono y estéreo) P2 se pueden encontrar en el comercio especializado, como se muestra en la figura 2.
Los enchufes se muestran en la figura 3 y es con ellos que podemos trabajar cuando no conectamos un dispositivo que ya tiene el enchufe al adaptador.

Pero ¿cómo sabemos dónde podemos hacer esto si vamos a usar un amplificador externo?
El amplificador interno del celular normalmente tiene una impedancia de salida de 33 ohmios (que puede variar entre 20 y 100 ohmios) según el tipo y una potencia de 420 mW.
Esto significa que obtenemos una señal de baja impedancia de los teléfonos celulares cuando la mayoría de los amplificadores de audio domésticos o de alta potencia tienen una entrada de alta impedancia.
Entonces debemos usar algún tipo de adaptación para que la señal se traslade convenientemente al amplificador, hay varias posibilidades.
La posibilidad más sencilla es realizar el acoplamiento directo a la entrada del amplificador utilizando una resistencia de carga (para simular la presencia del teléfono) y un capacitor de acoplamiento, como se muestra en la Figura 4.

Otra posibilidad muy interesante es la de transmitir el sonido del celular (pero monofónico) a un receptor FM colocado cerca, evitando así el uso de cables.
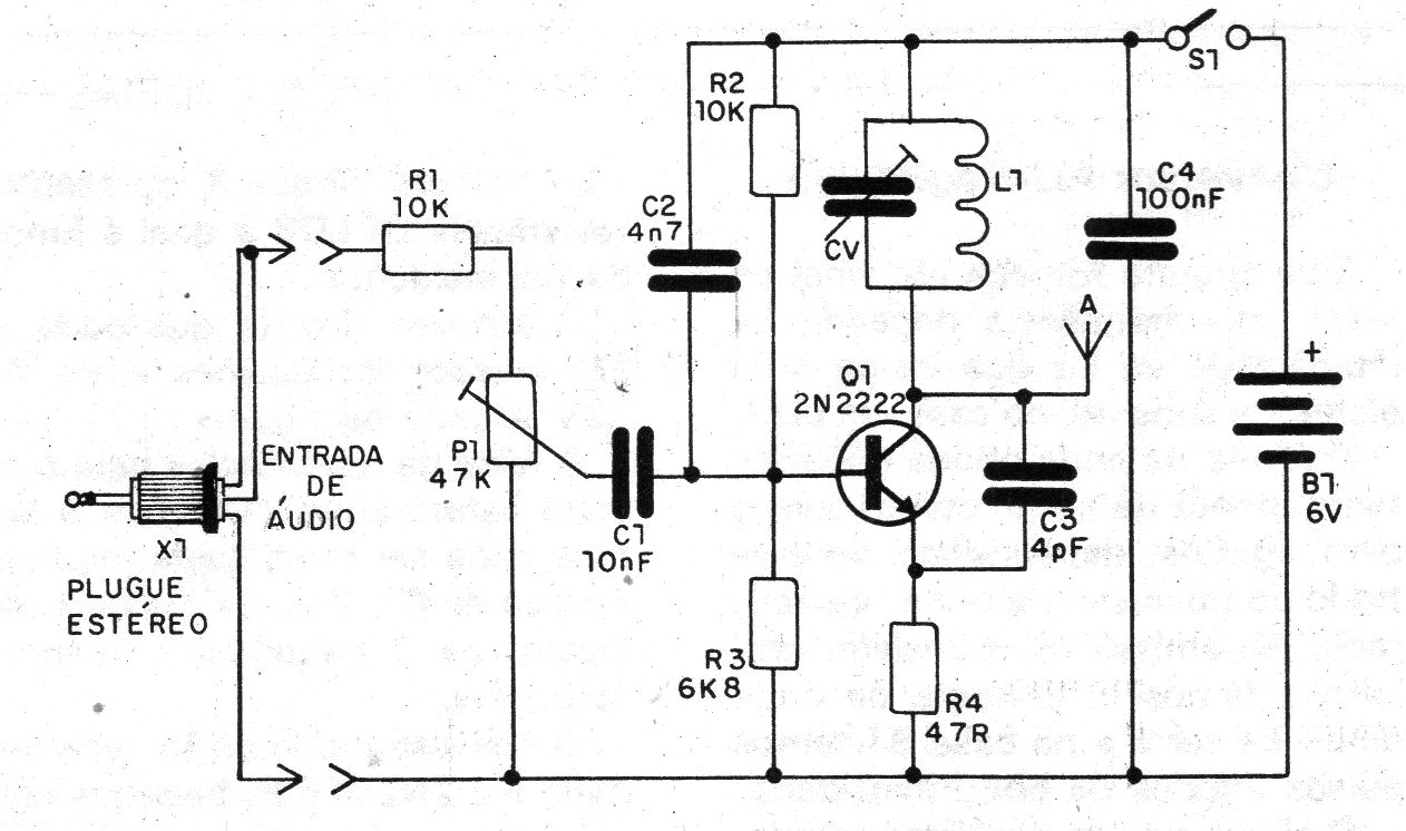
Luego damos el circuito de un transmisor para el sonido del celular.
Montaje
El esquema completo del relé se muestra en la figura 5.
El conjunto de la placa de circuito impreso se muestra en la figura 6.
Tanto la placa de circuito impreso como el puente de terminales se pueden instalar en una caja de plástico con una cubierta de aluminio, lo que se puede lograr fácilmente.
La antena telescópica debe tener una longitud máxima de 40 cm y la unidad se verá como la figura 7 una vez que esté lista.
Durante el montaje se recomienda mantener las conexiones lo más cortas posible y observar la polaridad de la fuente de alimentación (B1).
Prueba y uso
Antes de cerrar la caja, conviene probar y ajustar el equipo. Para hacer esto, proceda de la siguiente manera:
Coloca las pilas en el soporte, conecta el enchufe X1 a la salida de sonido de tu sintonizador, que debe estar sintonizado en cualquier emisora a medio volumen, y coloca cerca una pequeña radio FM (a unos 2 metros de distancia) sintonizada en un espacio libre del banda, también a medio volumen.
Inicialmente ajuste CV para captar claramente la señal del receptor en la radio.
P1 debe estar en la posición mínima.
Experimente con varios puntos del ajuste de CV, ya que se pueden captar armónicos, que son señales derivadas de menor intensidad. Busque la señal más fuerte.
Una vez capturada esta señal, ajuste P1 para obtener el mejor sonido posible del receptor, sin distorsión. Aléjese con la radio para asegurarse de que el equipo está en buenas condiciones (la señal es la fundamental y no los armónicos).
Una vez hecho esto, puedes cerrar el dispositivo en su caja y usarlo normalmente. Colóquelo sobre el receptor de FM o en un lugar para mayor alcance y calidad.
No utilice una antena externa para el receptor, ya que puede haber realimentación de la señal con fuertes oscilaciones que afectarán el ajuste y funcionamiento del sistema, especialmente si las frecuencias elegidas están cerca de la emisora captada.
Para usar con cinta o disco, basta con ponerlos a reproducir en el equipo y listo. No es necesario reajustar P1 a menos que se observen distorsiones. Incluso en este caso se resuelve con una simple disminución de volumen.
Siempre que utilice el relé, deje el control de volumen del receptor con antena externa en el mismo punto donde realizó el ajuste.
Una idea interesante es usar tu celular viejo (fuera de uso) como una estación de radio experimental. Puedes usar la función de grabadora de celular y crear tus propios programas que serán transmitidos al vecindario a través del circuito indicado.
Lista de materiales
Q1 - 2N2222 o equivalente -_transistor RF
CV - recortadora común
L1 - 4 vueltas de cable común con un diámetro de 1 cm.
P1 - 47 k - potenciómetro.
B1- 6 V - 4 baterías pequeñas o medianas.
S1 - Cambio sencillo.
X1-enchufe estéreo
A - Antena telescópica de 30 a 40 cm.
R1, R2 – 10k x 1/8W - resistores (marrón, negro, naranja).
R3 e- 6K8 x 1/8 W - resistor (azul, gris, rojo).
R4 - 47 ohms x 1/8 W - resistor (amarillo, violeta, negro).
C1 - Capacitor cerámico de 10 nF (103).
C2 - 4n7 - capacitor cerámico (472).
C3 - 4p7 -_capacitor cerámico.
C4 -100 nF - capacitor cerámico (104).
Varios: caja de plástico, antena telescópica, conector estéreo, cable blindado o común, puente de terminales o placa de circuito impreso, soporte para 4 baterías medianas o pequeñas. alambres, soldadura, etc.







