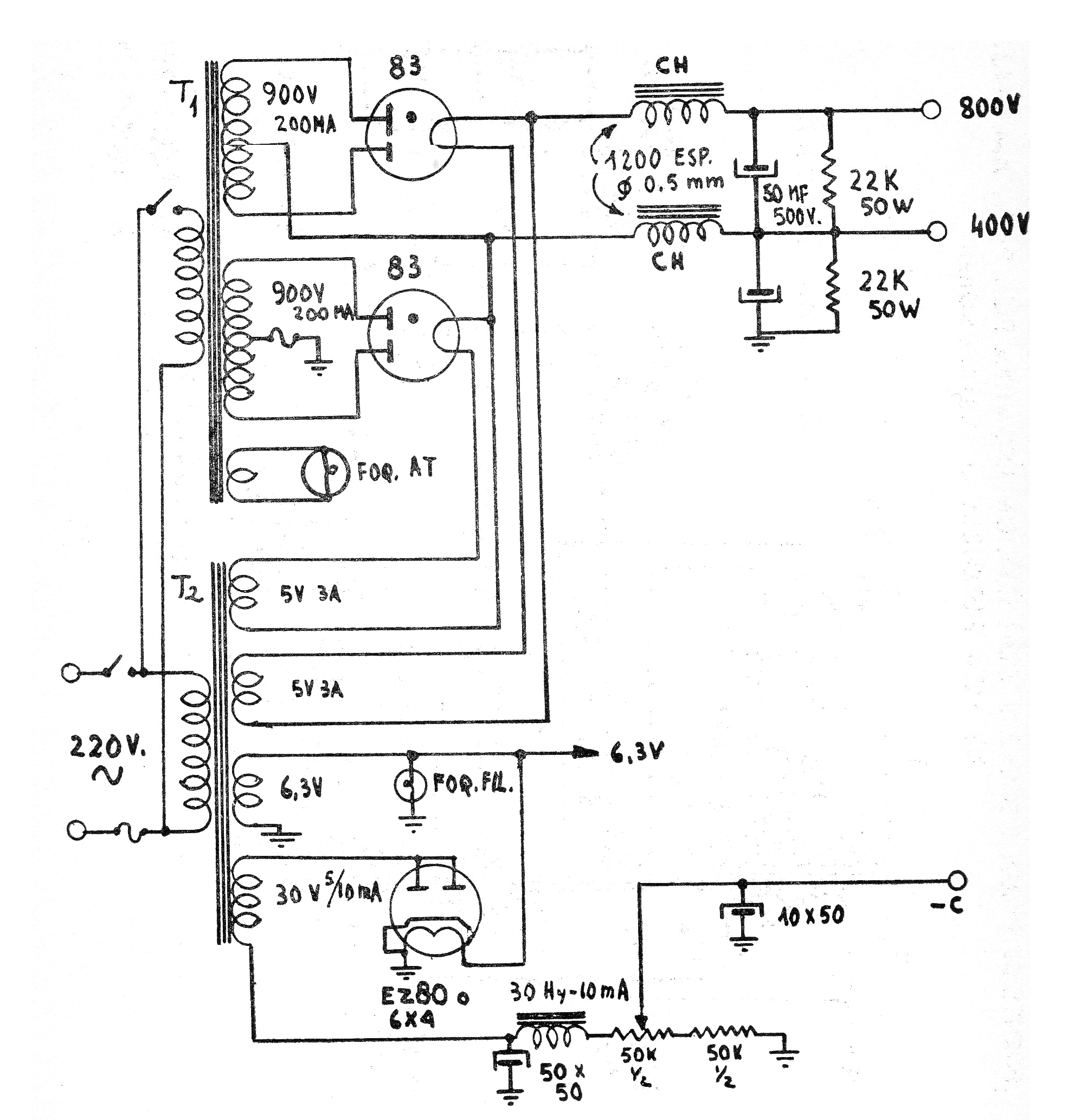
Esta fuente tradicional utilizada en equipos antiguos de Philips puede alimentar amplificadores de hasta 100 W. Los elementos críticos además de las válvulas son los transformadores y los golpes de filtro. Observe que los transformadores son de tensión bastante alta y que en la salida tenemos tensiones continuas de 400 V y 800 V. El segundo transformador se utiliza para alimentar más filamentos, normalmente del preamplificador y también proporcionar tensiones de polarización.




