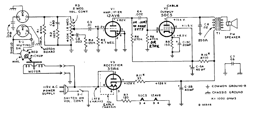
Este circuito, encontrado en un manual de 1950, m utilizaba 3 válvulas en una configuración de pocos vatios de salida. El circuito tenía los filamentos en serie y ya alimentaba el motor del tocadiscos.
En otro artículo que publicamos alrededor de 1986 nuevamente sorprendía a sus lectores con un...
Si el lector ha conseguido un viejo microamperímetro de algún aparato antiguo fuera de uso, puede...
La finalidad del circuito de la figura 1 es alimentar una carga con una corriente constante hasta 2 A a...