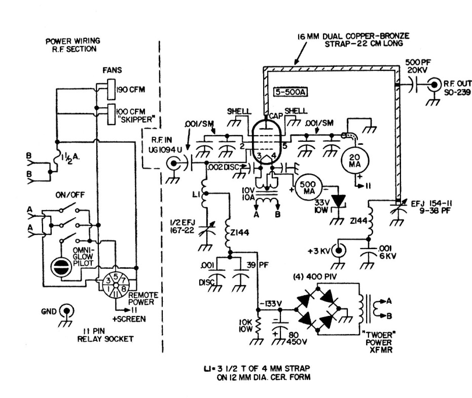
Este circuito de alta potencia para radioaficionados es de una documentación de los años 80. La alimentación es de 3000 V para el ánodo de la válvula, lo que requiere especial cuidado en la elaboración del montaje.
Este circuito se caracteriza por una alta resistencia de entrada. La precisión de la medición...
Este circuito utiliza un FET de unión, y dos transistores bipolares en acoplamiento Darlington...
Este circuito se encontró en un PE Hobbyst Handbook de 1989. Utiliza una luz negra fluorescente de la...