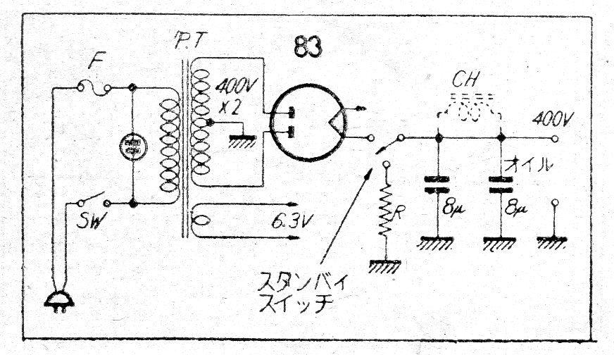
Esta fuente sirve para el amplificador mostrado en V832 y otros que necesitan la mesa de tensión. La válvula es un doble diodo y el transformador tiene todavía el devanado de 6,3 V para los filamentos de las válvulas alimentadas. El circuito es de los años 50.




