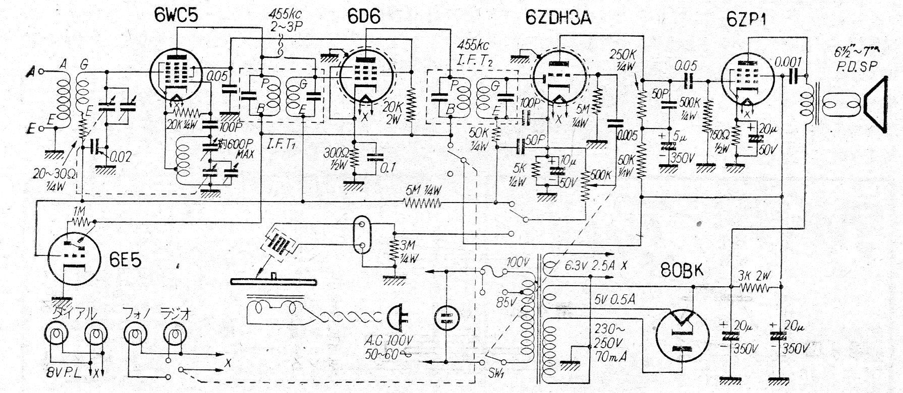
Este es el circuito de una radio con tocadiscos de mesa vendidos en Japón en los años 50. La radio con la banda de AM sólo tenía un tocadiscos con amplificador de algunos watts y buena calidad de sonido. Algunas válvulas usadas son poco comunes.
Las lámparas neón son elementos activos de circuitos que se caracterizan por presentar una región de...
Este circuito puede servir para el desarrollo de un enlace óptico de audio o incluso digital de muy...
Para los adeptos del lanzamiento de pequeños cohetes la disponibilidad de un sistema electrónico con llave...