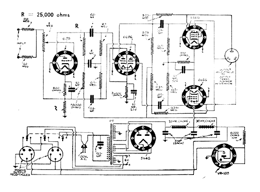
Este amplificador de 16 W es de una publicación de 1947. El circuito utiliza válvulas en empuje que se acoplan a un transformador de salida no mostrado. El circuito tiene por elementos críticos el transformador de fuerza y los choques de filtro además de las válvulas.




