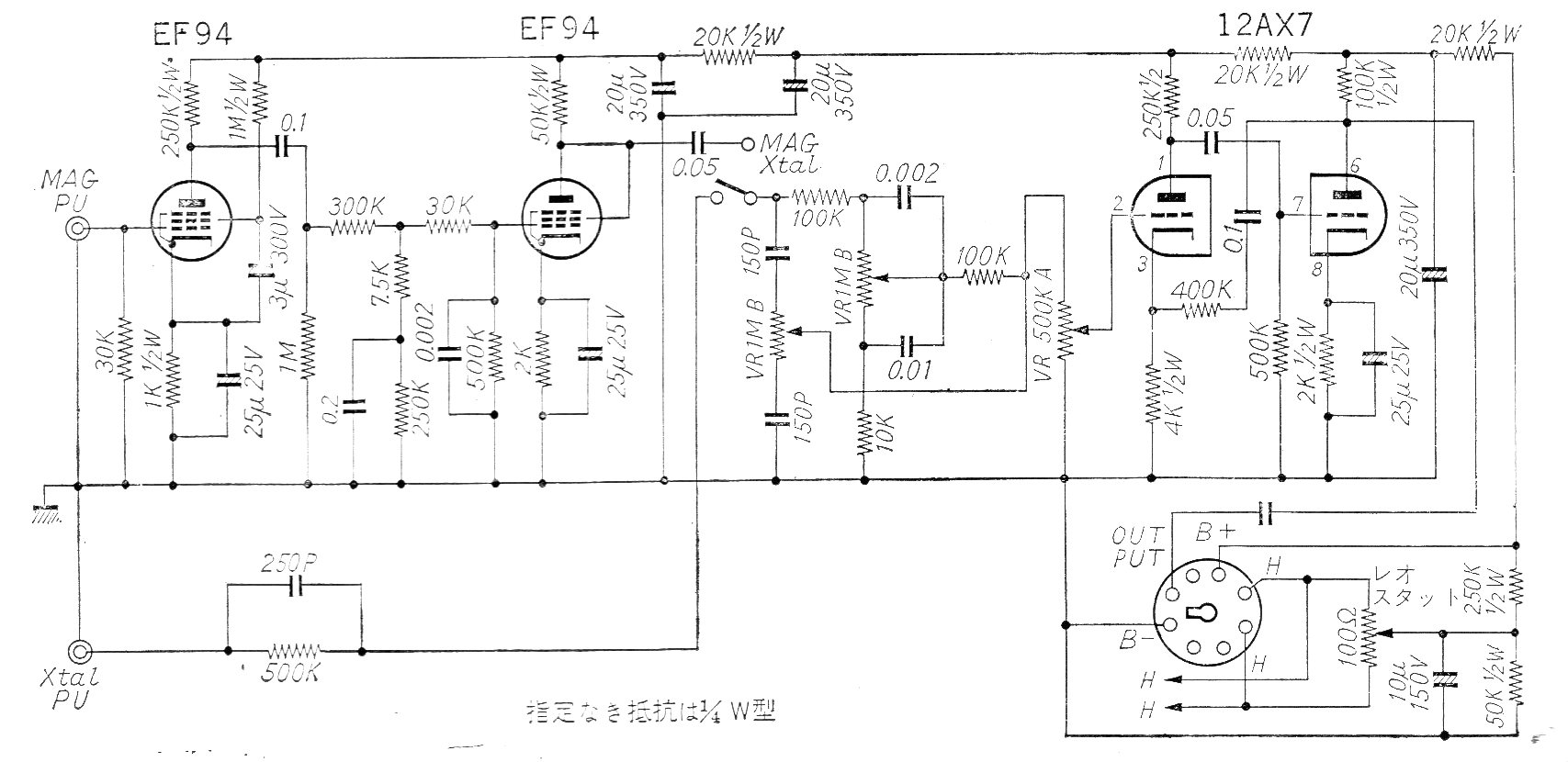
Este bien elaborado preamplificador para tocadiscos fue encontrado en una documentación japonesa de los años 60. El circuito tiene entrada para fonocaptores de cristal y magnéticos y ecualización incluyendo un control de tono tipo Baxandall. La alimentación se obtiene del propio amplificador con el que debe funcionar.




