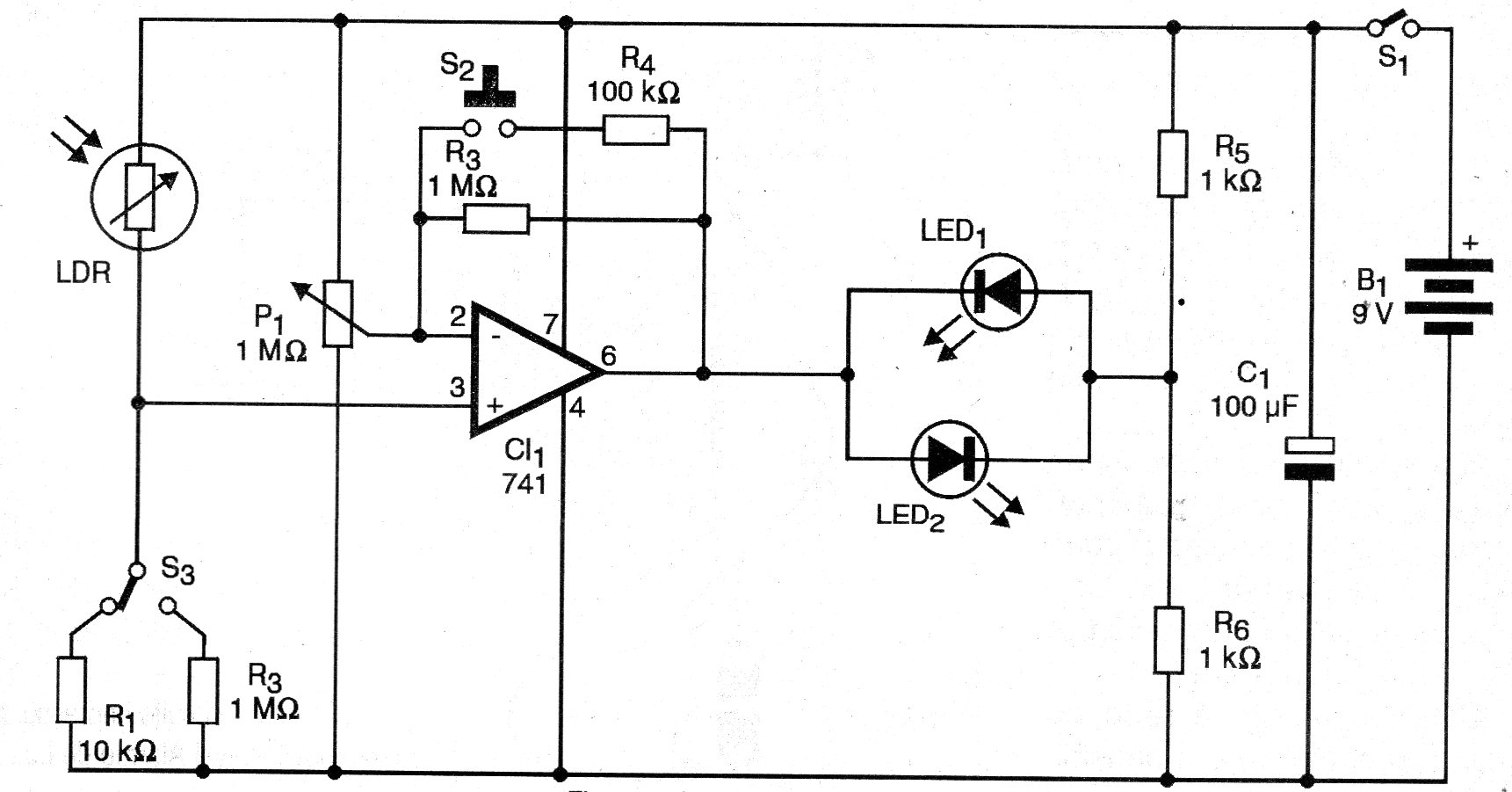
El circuito mostrado en la figura 1 es de un comparador de luz de dos escalas, utilizando como indicadores dos LED.
Ajustando el potenciómetro para apagar los dos LED, tenemos en su escala el punto que nos da la intensidad de la luz que está incidiendo en el LDR en aquel momento.
La escala se puede graduar sobre la base de un fotómetro común.
La escala que coloca R2 en el circuito es la de mayor sensibilidad, para trabajar con intensidades muy pequeñas de luz.
El montaje en una placa de circuito impreso se muestra en la figura 2.
Los resistores son de 1/8 W con cualquier tolerancia y los LED comunes, rojos o de otro color.
El LDR es del tipo redondo y para mayor sensibilidad y directividad se debe montar en un tubo opaco con una lente convergente.
Lista de material
CI-1 - 741 - amplificador operativo
LED1, LED2 - LEDs comunes
LDR - LDR redondo común
P1 - 1 M ohmios - pote
S1 - Interruptor simple
S2 - Interruptor NA de presión
S3 - Llave de 1 polo x 2 posiciones
B1 - 9 V - batería
R1 - 10 k ohms - resistor - marrón, negro, naranja
R2 - 100 k ohms - resistor - marrón, negro, amarillo
R3 - 1 M ohms - resistor - marrón, negro, verde
R4, R5 - 1 k ohms - resistores - marrón, negro, rojo
C1 - 100 uF x 12 V - condensador electrolítico
Varios:
Placa de circuito impreso, caja para montaje, conector de batería, hilos, soldadura, etc.





